服务热线
180-5003-0233
高速铜箔蘑菇视频无限观看国产甜美传媒的优点是什么高速铜箔蘑菇视频无限观看国产甜美传媒以其高精度、高效率、高自动化程度、稳定性能、适应性强和易于维护等优点,在铜箔加工行业中得到了广泛应用。...
碳带蘑菇视频无限观看国产甜美传媒在哪些领域应用广泛随着技术的不断进步和各行业对标识标签需求的增加,碳带蘑菇视频无限观看国产甜美传媒的应用领域还将不断拓展。...
铝箔蘑菇视频无限观看国产甜美传媒生产技术有哪些铝箔蘑菇视频无限观看国产甜美传媒生产技术涉及多个方面,以确保铝箔成人APP蘑菇下载能够高效、准确地被切割和分切。...
介绍一下碳带蘑菇视频无限观看国产甜美传媒的优势和特点吧碳带蘑菇视频无限观看国产甜美传媒是一种高效、精确的分切设备,其优势和特点主要体现在以下几个方面:...
碳带蘑菇视频无限观看国产甜美传媒适合什么行业使用碳带蘑菇视频无限观看国产甜美传媒是一种高效、精确的分切设备,广泛应用于多个行业。以下是一些主要适用行业:...
TTR碳带蘑菇视频无限观看国产甜美传媒适合哪种色带的分切TTR碳带蘑菇视频无限观看国产甜美传媒不仅限于热转印碳带,还广泛应用于传真色带、条码色带、传真碳带、打码色带等成人APP蘑菇下载的分切和复卷。...
铝箔蘑菇视频无限观看国产甜美传媒的生产技术有哪些铝箔蘑菇视频无限观看国产甜美传媒的生产技术涵盖了多个方面,以确保其高精度、高效率和高自动化程度的性能。...
介绍一下电化铝蘑菇视频无限观看国产甜美传媒的原理和应用优势电化铝蘑菇视频无限观看国产甜美传媒是一种专门用于对电化铝卷材进行精确分切的机械设备。以下是对其原理和应用优势的详细介绍:...
铝箔蘑菇视频无限观看国产甜美传媒在铝箔生产中的应用铝箔蘑菇视频无限观看国产甜美传媒是一种专门用于处理铝箔成人APP蘑菇下载的机械设备,主要功能是将宽大的铝箔带切割成特定宽度的小条,以便进一步加工或使用。...
切纸管机在印刷行业中的应用有哪些随着印刷行业的不断发展和技术的不断进步,切纸管机在印刷行业中的应用将会越来越广泛。...
铜箔蘑菇视频无限观看国产甜美传媒适合什么规格的铜箔成人APP蘑菇下载进行加工铜箔蘑菇视频无限观看国产甜美传媒适合加工的铜箔成人APP蘑菇下载规格因设备型号和制造商的不同而有所差异。以下是一些常见的铜箔蘑菇视频无限观看国产甜美传媒可以加工的铜箔成人APP蘑菇下载规格范围:...
全自动切纸管机有哪些优势和缺点全自动切纸管机是切纸管的专用设备,也可以针对相对规格的PE管、PVC软管等进行切割,主要应用于印刷、包装等行业。...
蘑菇视频无限观看国产甜美传媒采用严格的质量控制体系蘑菇视频无限观看国产甜美传媒厂家通过严格的质量控制体系,确保每台出厂设备都经过严格测试,达到高标准。...
铜箔蘑菇视频无限观看国产甜美传媒的工作原理铜箔蘑菇视频无限观看国产甜美传媒的工作原理主要是将大卷的铜箔成人APP蘑菇下载经过一系列精确的操作,切割成所需的尺寸和宽度。...
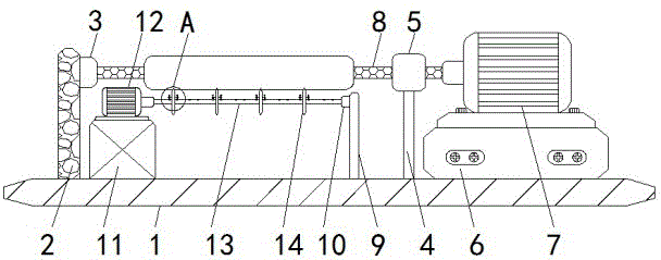
铜箔蘑菇视频无限观看国产甜美传媒的基本构造铜箔蘑菇视频无限观看国产甜美传媒的基本构造包括机台、送料装置、放料牵引装置、切割装置、收料装置等主要部分。...